政策法規 || ICH《Q1:原料藥和制劑的穩定性試驗》指導原則草案(附法規概覽5.6-5.9)
發布時間:2025-05-09
本周熱點
01
關于公開征求ICH《Q1:原料藥和制劑的穩定性試驗》指導原則草案意見的通知
ICH《Q1:原料藥和制劑的穩定性試驗》指導原則現進入第3階段區域公開征求意見階段。按照ICH相關章程要求,ICH的監管機構成員需收集本地區關于該文件草案的意見并反饋ICH。

掃描圖中二維碼
查看詳細信息

NMPA
01
截止2025年5月9日16:00,本周發布226個待領取藥品批準證明文件,其中注射液90個,一致性評價品種14個。






CDE
01
關于公開征求《化學仿制藥參比制劑目錄(第九十三批)》(征求意見稿)意見的通知

掃描圖中二維碼
查看詳細信息

02
關于公開征求《抗腫瘤藥物生物等效性及藥代動力學比對研究受試者人群選擇考慮(征求意見稿)》意見的通知

掃描圖中二維碼
查看詳細信息

03
關于公開征求《創新藥研發期間風險管理計劃撰寫技術指導原則(征求意見稿)》意見的通知

掃描圖中二維碼
查看詳細信息

ADR
01
非處方藥轉換心神寧膠囊和養心定悸膠囊的公示

掃描圖中二維碼
查看詳細信息

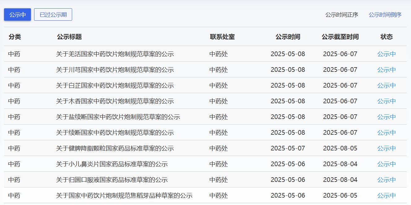
藥典委
近期,藥典委發布的標準草案公示如下:

-END-

轉載聲明:未經本網或本網權利人授權,不得轉載、摘編或利用其他方式使用上述作品。已經本網或本網權利人授權使用作品的,應在授權范圍內使用,并注明“來源:新領先醫藥科技”。

Hotline服務熱線:010-83057670
簡體中文

010-83057670
聯系地址:
技術市場部:
北京新領先
新領先藥訊
010-61006450
